大华股份获得发明专利授权:“图像数据处理方法、电子设备以及存储介质”
证券之星消息,根据天眼查APP数据显示大华股份(002236)新获得一项发明专利授权,专利名为“图像数据处理方法、电子设备以及存储介质”,专利申请号为CN202510132776.7,授权日为2025年6月6日。

图片来源于网络,如有侵权,请联系删除
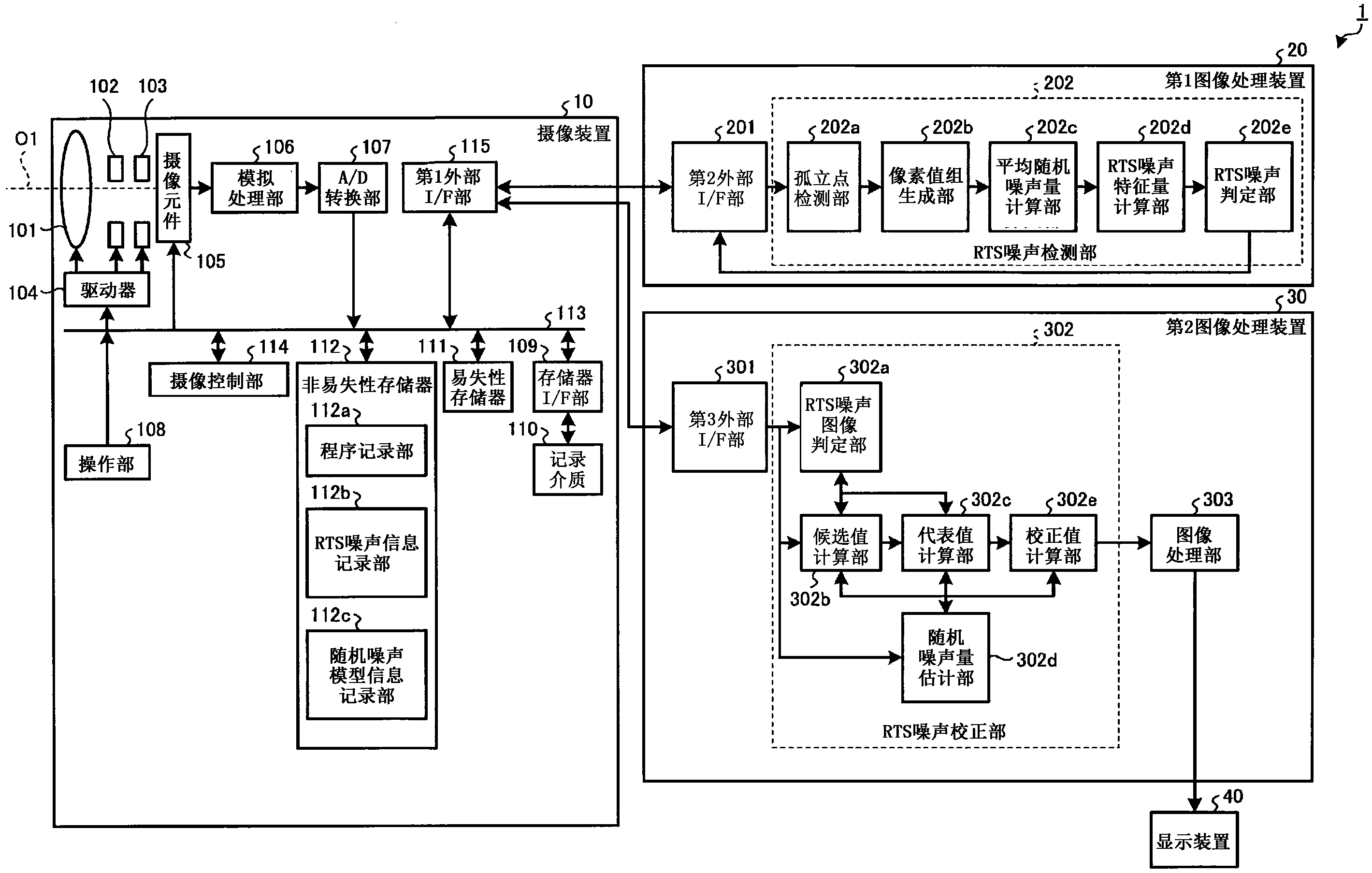
专利摘要:本申请公开了一种图像数据处理方法、电子设备以及存储介质。图像数据处理方法包括:获取图像采集装置在预设时间段内采集到连续的若干帧图像;对各图像进行检测,得到各图像的运动检测结果,每一运动检测结果包括图像包含动检事件或不包含动检事件;响应于至少一帧图像的运动检测结果为图像包含动检事件,从若干帧图像中确定目标图像集以便对目标图像集进行数据分析,目标图像集为若干帧图像中的至少部分图像。上述方案,能够提高数据分析过程中算力资源的利用率。

图片来源于网络,如有侵权,请联系删除
今年以来大华股份新获得专利授权582个,较去年同期增加了74.77%。结合公司2024年年报财务数据,2024年公司在研发方面投入了42.13亿元,同比增6.2%。
数据来源:天眼查APP
以上内容为证券之星据公开信息整理,由AI算法生成(网信算备310104345710301240019号),不构成投资建议。
目录 返回
首页
