启迪设计获得实用新型专利授权:“地下室排水限压抗浮水位控制系统”
证券之星消息,根据天眼查APP数据显示启迪设计(300500)新获得一项实用新型专利授权,专利名为“地下室排水限压抗浮水位控制系统”,专利申请号为CN202421705802.8,授权日为2025年7月18日。

图片来源于网络,如有侵权,请联系删除
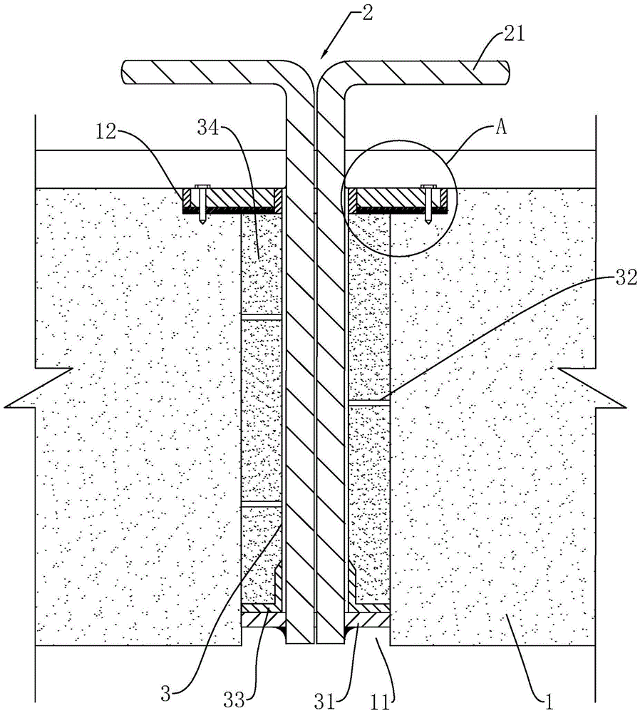
专利摘要:一种地下室排水限压抗浮水位控制系统,属于建筑排水技术领域。该地下室排水限压抗浮水位控制系统包括:内排水设施,设置在地下室内;室外水位控制井,井壁上设有若干防水套管,防水套管对接内排水设施;以及疏水盲管,通过溢水立管与室外水位控制井连通。本实用新型在盲沟失效以及极端天气情况下出现盲沟排水效率不足的问题时对地下水位进行有效控制,确保结构抗浮安全,同时能够方便对系统进行检修,保障系统的正常运行。

图片来源于网络,如有侵权,请联系删除
今年以来启迪设计新获得专利授权12个,较去年同期减少了14.29%。结合公司2024年年报财务数据,2024年公司在研发方面投入了5609.22万元,同比减39.04%。

图片来源于网络,如有侵权,请联系删除
通过天眼查大数据分析,启迪设计集团股份有限公司共对外投资了40家企业,参与招投标项目7563次;财产线索方面有商标信息34条,专利信息301条,著作权信息19条;此外企业还拥有行政许可10个。
数据来源:天眼查APP
以上内容为证券之星据公开信息整理,由AI算法生成(网信算备310104345710301240019号),不构成投资建议。
目录 返回
首页
