格力电器获得发明专利授权:“一种洗衣机”
证券之星消息,根据天眼查APP数据显示格力电器(000651)新获得一项发明专利授权,专利名为“一种洗衣机”,专利申请号为CN202210837674.1,授权日为2025年7月18日。

图片来源于网络,如有侵权,请联系删除
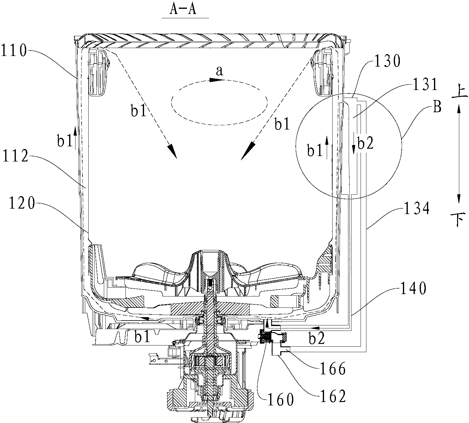
专利摘要:本发明提供一种洗衣机,包括衣物处理桶和排水装置,衣物处理桶形成有排水口,排水装置设置在排水口的下方且包括密封件、顶杆和驱动机构;密封件形成有第一密封部;顶杆的一端与第一密封部连接;驱动机构包括齿轮和齿条,齿条的一端与齿轮啮合,另一端与顶杆的另一端连接;齿轮被控制转动,齿条驱动顶杆运动,当顶杆运动至第一工作位时,第一密封部与排水口处于封闭排水口的状态,衣物处理桶可洗涤衣物;当顶杆运动至第二工作位时,第一密封部与排水口处于打开排水口的状态,衣物处理桶可排水;结构简单,排水口打开迅速和排水及时,传动稳定,封闭排水口时,密封效果显著;第二密封部与第二固定部及密封槽之间形成迷宫式密封结构,密封效果好。

图片来源于网络,如有侵权,请联系删除
今年以来格力电器新获得专利授权3678个,较去年同期减少了5.16%。结合公司2024年年报财务数据,2024年公司在研发方面投入了69.04亿元,同比增2.1%。

图片来源于网络,如有侵权,请联系删除
通过天眼查大数据分析,珠海格力电器股份有限公司共对外投资了101家企业,参与招投标项目27988次;财产线索方面有商标信息8135条,专利信息115189条,著作权信息297条;此外企业还拥有行政许可827个。
数据来源:天眼查APP
以上内容为证券之星据公开信息整理,由AI算法生成(网信算备310104345710301240019号),不构成投资建议。
目录 返回
首页
