中国石油获得实用新型专利授权:“一种塔架式抽油机整机移动装置”
证券之星消息,根据天眼查APP数据显示中国石油(601857)新获得一项实用新型专利授权,专利名为“一种塔架式抽油机整机移动装置”,专利申请号为CN202423226574.9,授权日为2025年10月17日。

图片来源于网络,如有侵权,请联系删除
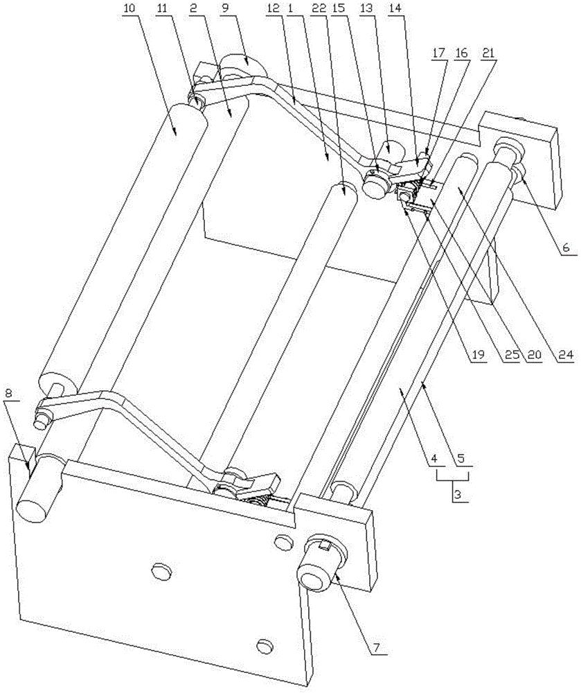
专利摘要:本实用新型涉及抽油机配套工具技术领域,尤其涉及一种塔架式抽油机整机移动装置。该塔架式抽油机整机移动装置包括矩形结构的装置基座,其上端设有若干矩形槽和固定底座,固定底座上端安装有塔架式抽油机,右端设有牵引机并通过传动丝杠连接,传动丝杠左端与固定底座固定连接,固定底座上均匀设有若干底座横梁,其上设有螺纹通孔和横梁固定螺栓,装置基座上的矩形槽中设有千斤顶,该千斤顶用于将固定底座顶起,固定底座的外壁对称设有四个滑轮。通过使用牵引机和传动丝杠的工作,轻松的实现塔架式抽油机的整机前后移动,通过滑轮将原来的滑动摩擦改变为滚动摩擦减少阻力,操作过程方便快捷,从而达到降低劳动强度提高工作效率。

图片来源于网络,如有侵权,请联系删除
今年以来中国石油新获得专利授权1265个,较去年同期减少了23.52%。结合公司2025年中报财务数据,今年上半年公司在研发方面投入了98.99亿元,同比增2.51%。
通过天眼查大数据分析,中国石油天然气股份有限公司共对外投资了1289家企业,参与招投标项目443次;财产线索方面有商标信息107条,专利信息32993条;此外企业还拥有行政许可168个。
数据来源:天眼查APP
以上内容为证券之星据公开信息整理,由AI算法生成(网信算备310104345710301240019号),不构成投资建议。
目录 返回
首页
