歌尔股份获得发明专利授权:“检测装置”
证券之星消息,根据天眼查APP数据显示歌尔股份(002241)新获得一项发明专利授权,专利名为“检测装置”,专利申请号为CN202510949365.7,授权日为2025年10月21日。

图片来源于网络,如有侵权,请联系删除
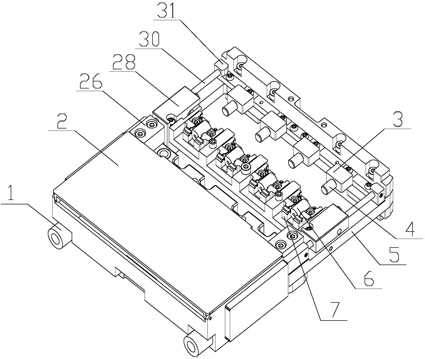
专利摘要:本发明公开一种检测装置,涉及天线组件技术领域,检测装置包括机台、检测模组和定位组件,机台具有检测工位;检测模组设于检测工位,检测模组包括测试台、探针和公端子,测试台固定至机台上,用于放置载有天线组件的承载单元,测试台的上表面开设有两个测试孔,探针和公端子能够沿上下方向活动,以能够穿设于对应的测试孔内,探针用于与天线组件的焊盘接触,公端子用于插入天线组件的母端子内,基于无线射频检测原理对电磁波接收、信号处理与数据分析最后生成频谱图,定位组件用于将承载单元固定在测试台,从而保证探针和公端子的精准定位,与线体上其他设备形成连贯的工艺,提高天线检测和加工的自动化程度。

图片来源于网络,如有侵权,请联系删除
今年以来歌尔股份新获得专利授权529个,较去年同期增加了6.65%。结合公司2025年中报财务数据,今年上半年公司在研发方面投入了23.54亿元,同比增15.81%。
通过天眼查大数据分析,歌尔股份有限公司共对外投资了43家企业,参与招投标项目240次;财产线索方面有商标信息171条,专利信息10029条,著作权信息45条;此外企业还拥有行政许可618个。
数据来源:天眼查APP
以上内容为证券之星据公开信息整理,由AI算法生成(网信算备310104345710301240019号),不构成投资建议。
目录 返回
首页
