潍柴重机获得实用新型专利授权:“一种甲醇发动机及其气控系统”
证券之星消息,根据天眼查APP数据显示潍柴重机(000880)新获得一项实用新型专利授权,专利名为“一种甲醇发动机及其气控系统”,专利申请号为CN202520470756.6,授权日为2026年1月23日。

图片来源于网络,如有侵权,请联系删除
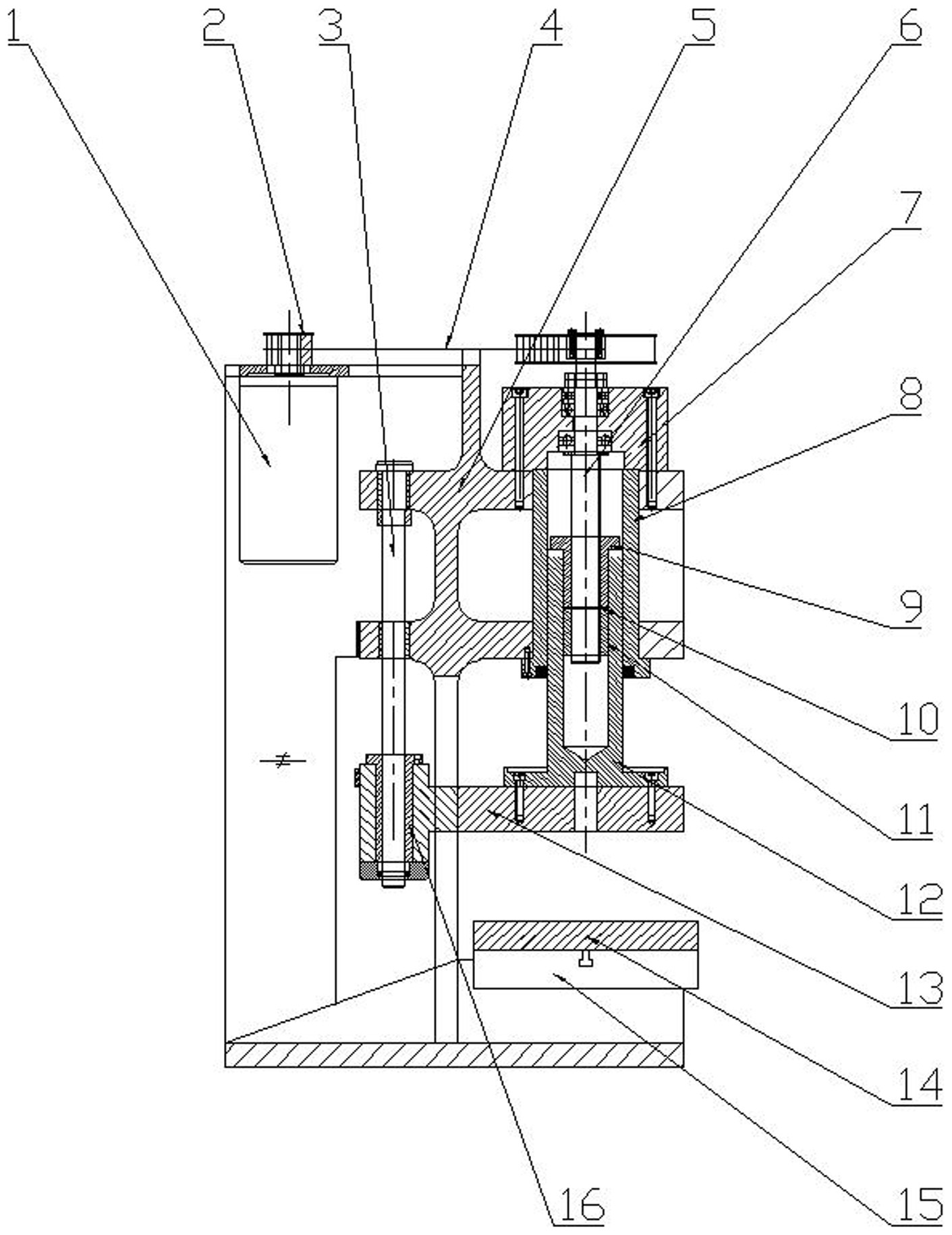
专利摘要:一种甲醇发动机及其气控系统,涉及发动机技术领域;其中,气控系统包括增压器、节气门、防喘振阀、进气总管和甲醇轨管;节气门通过节气门进气管与增压器连通,增压器上安装有增压前进气管,防喘振阀通过防喘振连接管连通于节气门进气管与增压前进气管之间;进气总管与节气门连通,进气总管通过进气歧管与气缸连通;甲醇轨管与外界的甲醇供应撬装连通,甲醇轨管为常通式双层管,甲醇轨管的内管为甲醇支管,甲醇轨管的外管为空气支管,甲醇支管通过喷醇器与进气歧管连通。本申请能够实现全工况防喘振控制,提高增压器可靠性,增大发动机维修空间,降低施工难度。同时,本申请公开了甲醇发动机。

图片来源于网络,如有侵权,请联系删除
今年以来潍柴重机新获得专利授权3个,较去年同期减少了57.14%。结合公司2025年中报财务数据,2025上半年公司在研发方面投入了1.18亿元,同比增10.27%。

图片来源于网络,如有侵权,请联系删除
通过天眼查大数据分析,潍柴重机股份有限公司共对外投资了10家企业,参与招投标项目616次;财产线索方面有商标信息7条,专利信息973条;此外企业还拥有行政许可38个。
数据来源:天眼查APP
以上内容为证券之星据公开信息整理,由AI算法生成(网信算备310104345710301240019号),不构成投资建议。
目录 返回
首页
