德龙激光获得实用新型专利授权:“全流程电池包拆解回收模组的装置”
证券之星消息,根据天眼查APP数据显示德龙激光(688170)新获得一项实用新型专利授权,专利名为“全流程电池包拆解回收模组的装置”,专利申请号为CN202520629693.4,授权日为2026年4月10日。

图片来源于网络,如有侵权,请联系删除
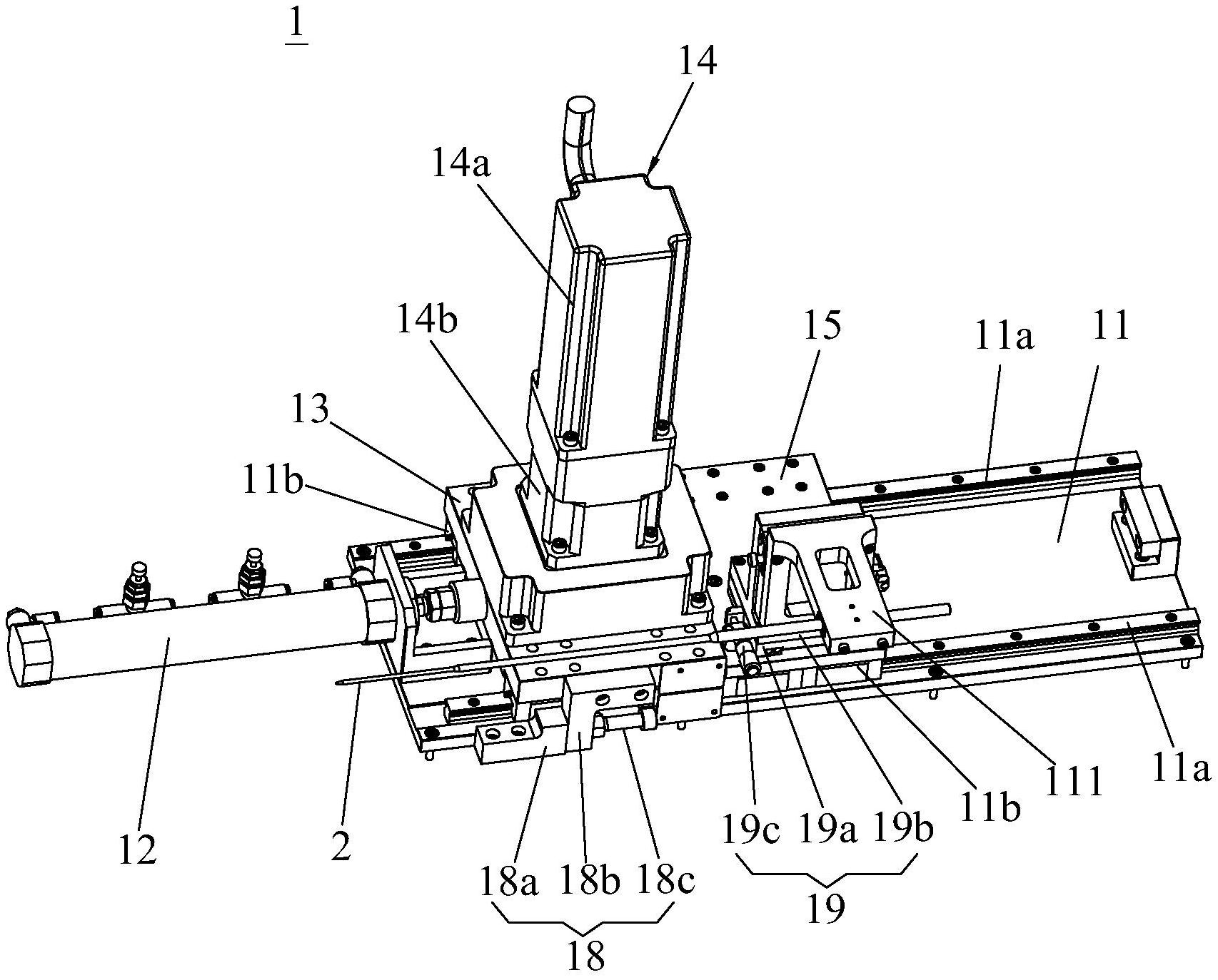
专利摘要:本实用新型涉及一种全流程电池包拆解回收模组的装置,从左往右依次包括提升翻转单元、底板铣削单元和剥离压出单元。本实用新型设计了一种全流程电池包拆解并回收模组的装置,通过Pack小车机构、提升翻转单元、底板铣削单元和剥离压出单元等实现了电池包底板拆解及模组取出,并且具备较大的柔性化兼容生产功能,满足回收产业产品多样化的需求,具备很大的实用价值。

图片来源于网络,如有侵权,请联系删除
今年以来德龙激光新获得专利授权21个,较去年同期增加了110%。结合公司2025年中报财务数据,2025上半年公司在研发方面投入了6613.77万元,同比增0.21%。
通过天眼查大数据分析,苏州德龙激光股份有限公司共对外投资了12家企业,参与招投标项目315次;财产线索方面有商标信息20条,专利信息659条,著作权信息170条;此外企业还拥有行政许可5个。
数据来源:天眼查APP
以上内容为证券之星据公开信息整理,由AI算法生成(网信算备310104345710301240019号),不构成投资建议。
目录 返回
首页
